SIGN UP CUSTOMER LOGIN
Main Photo

7 Total Photos [Click to View All]

Main Photo
Main Photo

1290 S Butterfield Road Mundelein, IL 60060

$399,000
Active / MLS# 12172371 / Land - Residential / Mundelein
0 Beds

Discover an exceptional commercial land opportunity at 1290 S Butterfield Rd in Mundelein, IL. This C2-zoned vacant lot is perfectly situated in a high-traffic area near I-94 and Route 60, offering excellent visibility and accessibility for both customers and employees. Surrounded by major retailers such as Target, Home Depot, and Jewel-Osco, the location is ideal for a wide range of retail or commercial developments. Whether you're an investor or business owner, this property presents endless potential in a growing and vibrant area. Don't miss your chance to secure a prime spot in one of Mundelein's most desirable corridors.

Read More » Read Less »

Baird & Warner Nelson Homes Group Agent Cell: 847.204.3353 Email

Mortgage Calculator

%
years/fixed
yearly
yearly (est.)
(Payments are an estimate and may vary by lender)

Estimated Payment

$ 1,639.38 per month $886.67 Principal & Interest $636.33 Property Tax $116.38 Homeowner's Insurance
Get your competitive financing options.

Property Details

Property Type: Land - Residential
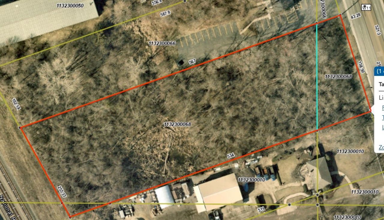
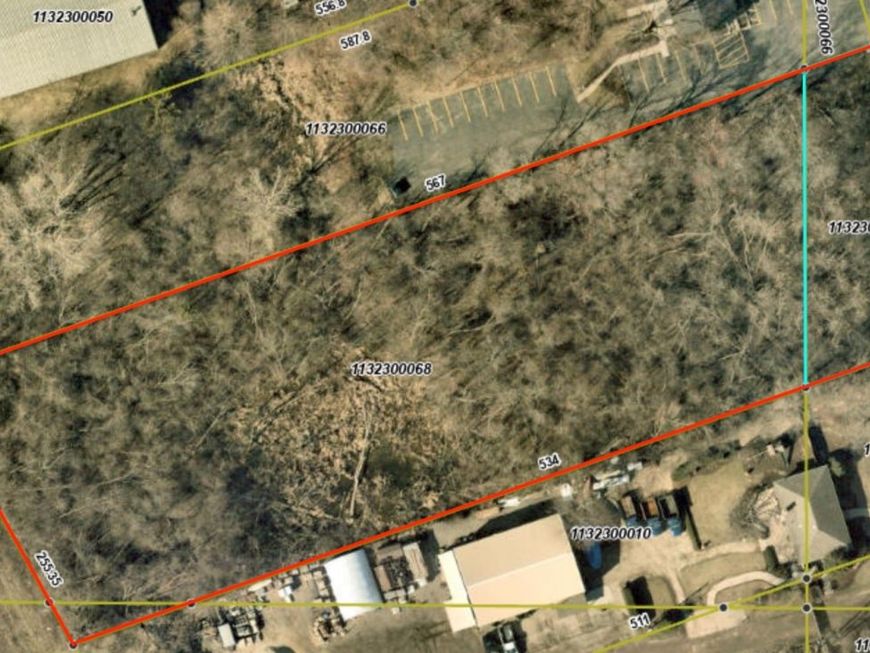
Lot Size: 567 X 255 X 534 X 250
Taxes: $7,636

Feature Descriptions

Frontage: 250
Frontage Type: City Street
Lot Dimensions: 567 X 255 X 534 X 250
Parcel#: 11323000680000
Road Surface: Asphalt
Township: Libertyville
Utilities: Electric to Site, Natural Gas Available, Sewer Connected

Schools

High School: Mundelein Cons High School
School District: District 120

Disclaimer: The accuracy of all information regardless of source, including but not limited to square footage and lot size, is deemed reliable but not guaranteed nor warranted and should be personally verified through personal inspection by and/or with the appropriate professionals.

Location

See details and scored characteristics about this location.

Listing Office: Real Broker, LLC

Listing Office Phone: 217-960-8605



Listing data and photos distributed by MLSGRID
Member Participants (and their affiliated licensees, if applicable) shall indicate on their websites that IDX information is provided exclusively for consumers’ personal non-commercial use, that it may not be used for any purpose other than to identify prospective properties consumers may be interested in purchasing, that the data is deemed reliable but is not guaranteed by MLS GRID, and that the use of the MLS GRID Data may be subject to an end user license agreement prescribed by the Member Participant’s applicable MLS if any and as amended from time to time. MLS GRID may, at its discretion, require use of other disclaimers as necessary to protect Member Participant, and/or their MLS from liability.
Based on information submitted to the MLS GRID. All data is obtained from various sources and may not have been verified by broker or MLS GRID. Supplied Open House Information is subject to change without notice. All information should be independently reviewed and verified for accuracy. Properties may or may not be listed by the office/agent presenting the information.


Login to my Baird & Warner account

Pixel